
Saturday Vacation Post: Patent Updates!
January 24, 2026Here I am, on a cruise ship thanks to my wife and friends who booked something months in advance…and then by chance we escaped before a massive winter storm hit the majority of the United States. Yay serendipity!
While I’m in port with a free signal, let’s do a post about some fun patents that have been popping up on the United States Patent and Trademark Office’s website, ranging from obsolete vaporware to possible upcoming products!
Shelby Destroyer? What?
If you want more info on this, I’d watch Beret’s excellent video on the subject matter.
In any case, the patent for the device itself became official on December 30th. The blaster itself was an amazing concept…but it was never delivered. That’s the danger of crowdfunding.
Super Soakers: How Do They Work? (Insert ICP Meme Here)
Water blasters are very much an iterative product field; you really don’t see any major jumps in technology now that the big things (original patent, CPS, etc.) have all been done. Even so, little things here and there are cool to see – and this one I somehow didn’t spot on application, only when it was approved.
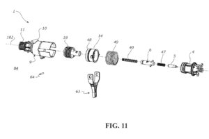
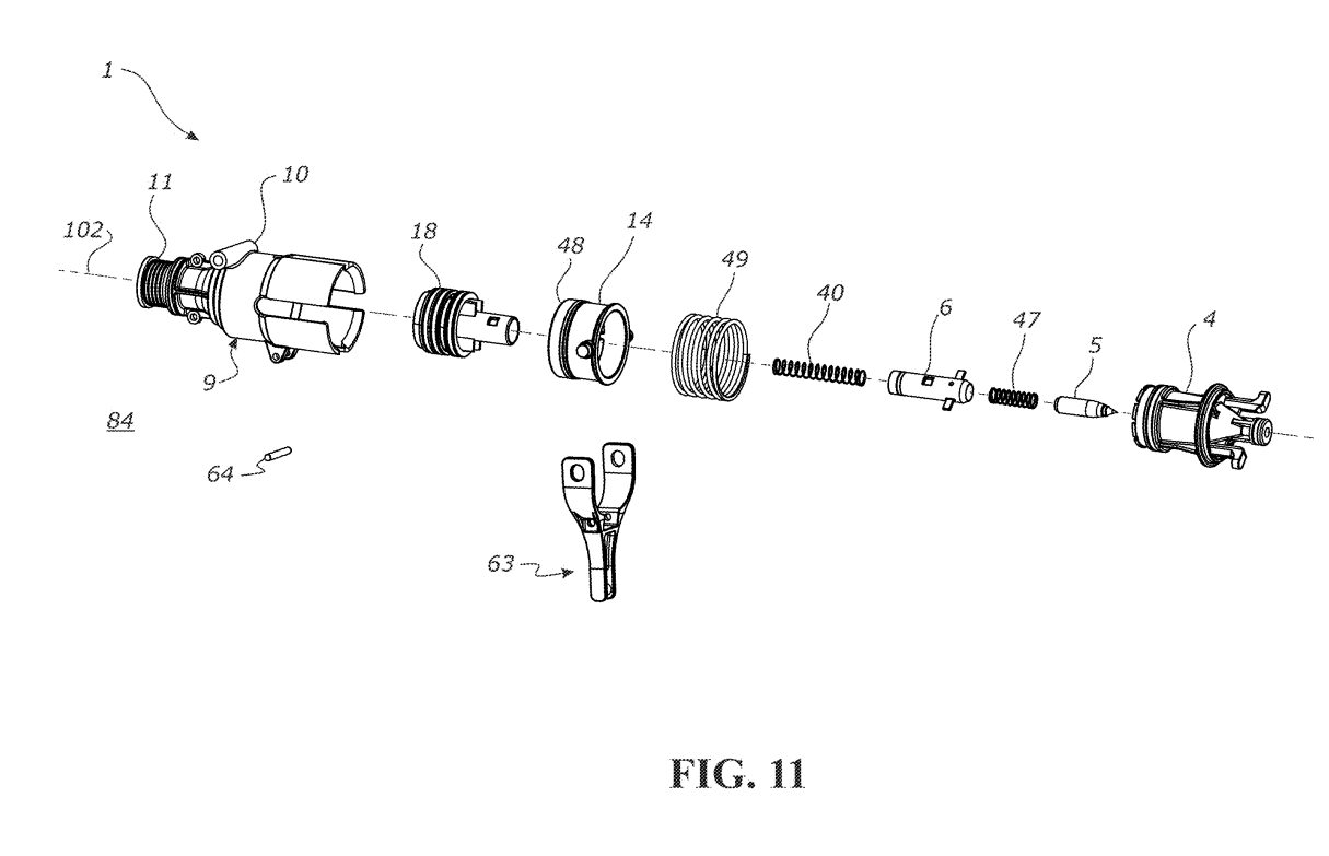
The patent in question, approved last week, isn’t actually owned by Hasbro, but by a New Zealand company, Hammerforce, through their Globalforce IP subsidiary. The company specializes in making pistons and valves of various types and making licensing agreements with other companies. That would be the case here, because this valve is DEFINITELY used in the Power Drench XL.
Multishot Madness: One Plunger, Multiple Movements?
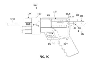
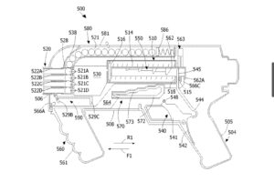
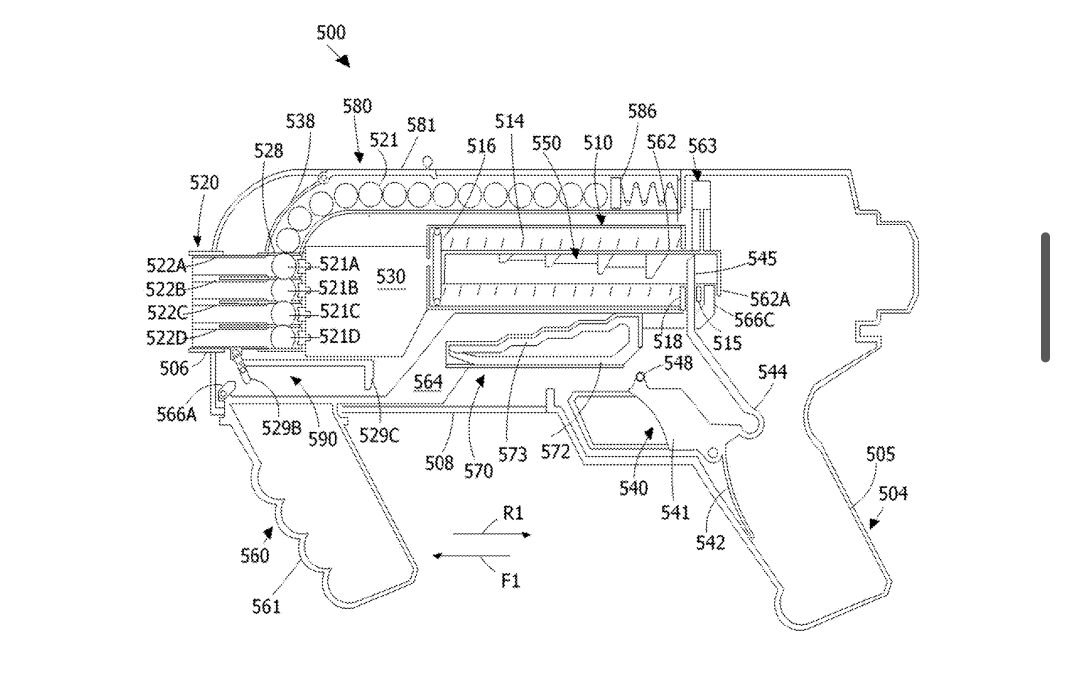
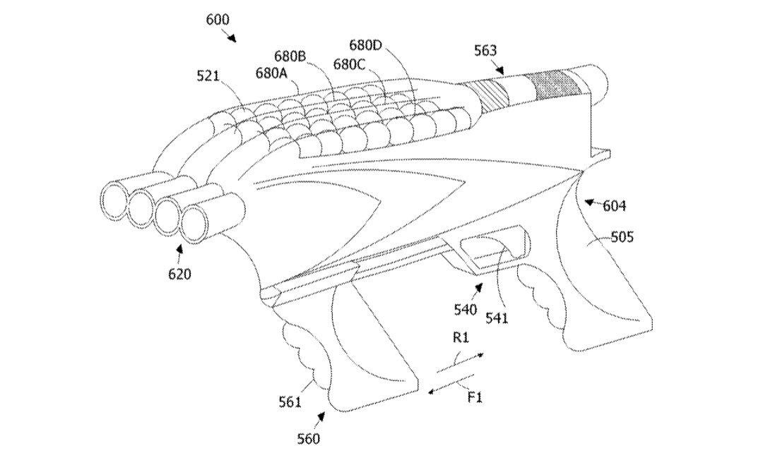
This patent is interesting, being published back in November. Drawn with various possible configurations and ammo types, it shows a blaster that can fire multiple darts or balls from a single priming action.
It assumes you have some kind of Smart AR system, but in each case, you have a single plunger tube, and a plunger with multiple catches. Pull the trigger, and the plunger only goes partway, firing a single dart.
It might be feasible, but I question both the potential ranges and the durability of that plunger tube. Even so, the patent has been issued, so I have to assume the author is shopping the design around for production somewhere.
Just An Extra Curiosity
I only include this one here due to the pictures being used. It’s a patent for a method of swapping worn-out gel ball blaster springs. But while it’s not by Hasbro…that blaster pictured is clearly a Gelfire Legion. Just a humorous thing to see.







